
Если возникает необходимость открыть багажник на автомобиле Ваз 2113, то приходится глушить двигатель, выходить на улицу и открыть отсек с помощью ключа, затем снова закрыть его и заводить мотор. Намного удобнее, когда просто нажимаешь кнопку с салона и багажник автоматически открывается. Установим автоматический замок багажника Ваз 2113.
После сборки ГБЦ, установки злого распредвала, стала появляться ошибка датчика фаз 0340. После первой установки распредвала ошибки не было. А вот после капиталки ГБЦ, началось! Поначалу ошибка возникала на высоких оборотах, на 5,5 — 6 тысячах.
Решено было исправлять внезапное появление Чак Норриса. Напишу о том, как я боролся с Чаком. Поменял разъём датчика фаз, датчик фаз, проверил все

Иногда приходится отключать аккумулятор для разных целей, и если раньше это приветствовалось установкой выключателя массы, то в 21 веке прогресс рванул так, что не позволяет автомобилю даже спать без питания. При отключении питания сбиваются настройки маршрутника, магнитолы, панели приборов, и не все параметры можно настроить сразу (к примеру суточный пробег уже не восстановить). Но самое

Завод изготовитель рекомендует напряжение бортовой сети автомобиля в пределах 13,6 — 14,7 В. После установки бортового компьютера, стало понятно что у нас на борту напряжение 13,6, что в пределах нормы — но по минимуму. Летом это хорошо, за шесть лет эксплуатации автомобиля в аккумулятор вода не доливалась. А вот зимой, при езде со светом, отопителем, стеклоочистителями, опять же музыка

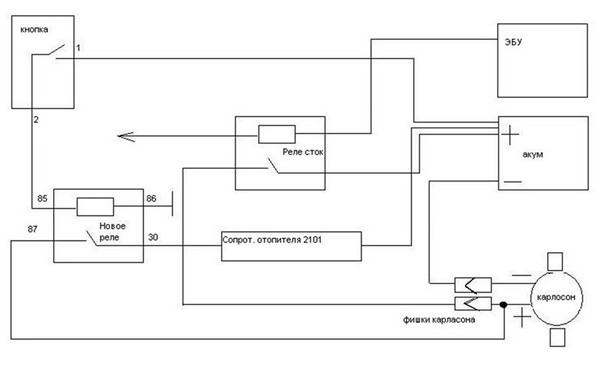
Озадачился я установкой кнопки принудительного включения вентилятора на свой таз. Задача была такой: включать вентилятор штатной кнопкой с панели, при помощи реле. Вентилятор должен крутится медленно, чтоб не шумел. По команде контроллера он тоже должен включаться.
Через пару дней переварил информацию и полез в машину. После первых экспериментов с тестером, я выяснил, что у меня на карлосон

Решил сделать светодиодную подсветку приборной панели. При этом, не уходить далеко от стока. Для этого была куплена светодиодная лента (1 метр), самая простая, за 233 рубля. Ниже, опишу сам процесс замены.
Разобрал панель полностью.
Отдельно скажу про стрелки. Пытался снять их вилкой (как тут кто-то советовал), но ни к чему это ни привело, так и казалось, что я их сломаю. Решил

На написание данного поста меня натолкнуло не столько желание поделиться произведенным ремонтом, сколько описание и сбор информации по данному вопросу. Интернет пестрит вопросами о данном датчике, выходе его из строя, и способами устранения проблем. Но это только вопросы. Каких — то конкретных ответов нет. Я попробую описать диагностику и ремонт по моему личному видению данной проблемы. Если у

Решил заменить плюсовой провод с генератора до АКБ, минусовой с АКБ к двигателю и к кузову, кинуть массу с корпуса генератора на кузов. В процессе работы еще и плюсовой провод со стартера на АКБ заменил.
Предварительно до этого масштабного занятия, приобрел три метра провода в толстой резиновой оболочке, сечением 25квадратов. Хотя три метра мне не хватило немного, надо было брать три с

Задача: установить обогрев зеркал для ВАЗ 2114
Ход работ по установке обогрева зеркал для ВАЗ 2114
Для установки подогрева зеркал нам понадобится:
—Нихромовая нить (была извлечена из маминого фена :D …не бойтесь, он не работал)
—4-х контактное реле с колодкой проводов;
—Кнопка обогрева заднего стекла (т.к. я не нашел ее, использовал от штатного обогрева, потом куплю и

Задача: установить электропривод багажника ВАЗ 2114

Так это должно выглядеть на замке

в работе


при открытии

На замке пришлось погнуть пластинку, без ущерба замку

Подпили да подпили

конечный
Проводка

Начал я именно с этого места
Протолкнул провод в дверь
Вуаля )

Парктроником называют систему помощи при парковке, который сигнализирует о приближающимся объекте, используя при этом ультразвуковые датчики, которые рассчитывают расстояние до возможного объекта во время движения вперед либо назад. Парктроник особенно незаменим для автомобилей с тонированными окнами.
Система помощи при парковке

Давным давно уже хотел установить себе антирадар. Выбор пал на антирадары автомобильные crunch. Установка не занимает большого количества времени, очень даже просто все это происходит, нужно всего лишь соединить пару проводов. Эксплуатация антирадара тоже особой сложности не представляет. Кое-какие нюансы конечно существуют, но их легко усвоить в процессе установки.
Гость - Гость
Прямая ссылка